Soviet and Russian aerial bombs

Soviet Union and Russian Federation developed a range of aerial bombs for use on its aircraft.

Naming

The name of the bomb consists of the type of bomb (FAB-250M-46), its caliber in kilograms (FAB-250M-46), model by year of adoption (FAB-250M-46 - model 1946) and additionally (not always) an indication of its mass - if it differs significantly from the caliber (OFAB-250-270, FAB-1500-2600TS) and/or the design feature of the bomb or its production technology (FAB-500T - heat-resistant (термостойкая; termostoykaya), FAB-1500-2600TS - thick-walled (толстостенная; tolstostennaya), FAB-100sch - steel cast iron (сталистый чугун; stalistyy chugun), FAB-1000sl - steel casting (стальное литьё; stal'noye lit'yo), or for commercial purposes (KAB-500S-E - export).

Bomb types

"AB" (АБ) in FAB stands for "aerial bomb" (авиационная бомба)

Main purpose

  • FAB (ФАБ) - high explosive
  • OFAB (ОФАБ) - high-explosive fragmentation
  • OFZAB (ОФЗАБ) - high-explosive fragmentation incendiary
  • OAB, AO, ShOAB (ОАБ, АО, ШОАБ) - fragmentation
  • ZAB/ZARP (ЗАБ/ЗАРП) - incendiary
  • ZB (ЗБ) - incendiary tank
  • ODAB (ОДАБ) - volumetric detonating
  • FAB-TS (TS - thick-walled), KAB-Pr (Pr - Penetrating) (ФАБ-ТС, КАБ-Пр) - penetrating high-explosive
  • BetAB (also - BETAB) (БетАБ) - concrete-breaking
  • BrAB (also BRAB) (БрАБ) - armor-piercing
  • PTAB (ПТАБ) - anti-tank
  • PLAB/MPLAB/GB (ПЛАБ/МПЛАБ/ГБ) - naval anti-submarine aircraft bomb / depth bomb
  • KhAB/KhB (ХАБ/ХБ) - chemical
  • AK (АК) (round [glass] ampoule)/AZH (АЖ) (tin ampoule) - chemical ampoule (also filled with self-igniting incendiary liquid KS)
  • KrAB-yad (КрАБ-яд) (poison) (also - CRAB-yad (КРАБ-яд)) - a smoking aerial bomb of toxic smoke
  • AOKh (АОХ) - chemical-fragmentation
  • KAB (КАБ) - guided bomb (KAB-Kr - television [homing head/seeker], KAB-LG - laser head [semi-active laser seeker], KAB-S - inertial seeker with satellite correction)
  • RBK (РБК) - disposable bomb cluster (cluster bomb)
  • RBS (РБС) - one-time bomb bundle

Auxiliary and special

  • SAB (САБ) - luminous (lighting)
  • DAB (ДАБ) - smoke
  • IAB (ИАБ) - simulation
  • ASK (АСК) - aviation rescue cassette
  • MGAB (МГАБ) - marine hydroacoustic (explosive sound source - VIZ)
  • ASP (АСП) - aviation fire extinguishing agent
  • AgitAB (АгитАБ) (also AGITAB) - agitation
  • P, PAB (П, ПАБ) - practical
  • M (М) - target
  • UPLAB (УПЛАБ) - anti-submarine training
  • FotAB (ФотАБ) (also FOTAB) - photographic
  • NOSAB (НОСАБ) - night orientation signal
  • DOSAB (ДОСАБ) - daytime reference signal
  • OMAB-D (ОМАБ-Д) - sea-orientation (daytime)
  • OMAB-N (ОМАБ-Н) - sea-orientation (night)
    Some popular sizes and types, left to right: 1.FAB-100 2.FAB-250 3.FAB-250M46 4.OFAB-250 5.FAB-500M54 6.FAB-500 7. FAB-500M62 8.FAB-5000

Models and types

High explosive

High-explosive aerial bombs (FAB) are aerial bombs whose main destructive effect is the effect of an explosion. They have the most powerful and versatile lethal effect among main-purpose aerial bombs. The mass of the explosive in the bomb is approximately 50% of its weight, and the bomb also has a relatively strong body for penetration into the ground or into obstacles such as the floors of buildings and structures.[1]

Main destructive forces:

  • Gaseous explosion products with high overpressure
  • Shock waves in air or soil and seismic waves
  • Fragments from crushing the bomb body.

Primary targets:

  • Logistics and communications facilities
  • Military-industrial and energy facilities
  • Combat vehicles
  • Living force.

Modern general-purpose FABs weigh 250 kg or more. They can have several forms:[1]

  • Blunt nosed (Тупоконечная) - designed for the most efficient placement inside the fuselage. Dropped at near- and subsonic speeds and altitudes of up to 15–16 km.
  • High elongation (Большого удлинения) - they have a streamlined head section, designed mainly for aircraft with external suspension, including supersonic ones. They have less drag and are more stable.
  • Thick-walled (TS index) - Designed for deployment against particularly strong targets (reinforced concrete weapons depots, equipment parking lots, runways, dams). Such bombs are distinguished by a more massive and durable head part, a thicker body, and the absence of a head point for the fuse and a fuse cup.
High explosive
Abbreviation Image Diameter (mm) Length (mm) Bomb mass (kg) Explosive mass (kg) Notes
ФАБ-50ЦК 219 936 60 25 Solid forged
ФАБ-100 267 964 100 70 (together with warhead)
ФАБ-250 285 1589 250 99
ФАБ-250-М54 325 1795 268 97 [2]
ФАБ-250-М62 300 1924 227 100 [2]
ФАБ-250ТС 300 1500 256 61,4 [2] Thick-walled, Armor penetration 1 m
ФАБ-250ШЛ 325 1965 266 137 Assault, surface explosion
ФАБ-500 392 2142 500 213
ФАБ-500Т 400 2425 477 191 [2] Heat resistant
ФАБ-500-M54 450 1790 528 201 [2]
ФАБ-500-M62
FAB-500 M62 aerial bomb in Park Patriot 01
400 2425 500 200 [2]
ФАБ-500ШН 450 2190 513 221 [2] Assault, Low-altitude
ФАБ-500ШЛ 450 2220 515 221 [2] Assault, surface explosion
ФАБ-1000 - - - -
ФАБ-1500 580 3000 1400 1200 (with warhead)
ФАБ-1500Т - - 1488 870 [3] Heat resistant
ФАБ-1500-2500ТС - - 2151 436 [3] Thick-walled, armor penetration 2500 mm
ФАБ-1500-М54 - - 1550 675,6 [3]
ФАБ-2000 - - - -
ФАБ-3000 - - 3067 1387 [4]
ФАБ-3000-М46 - - 3000 1400
ФАБ-3000-М54 - - 3067 1200 [3]
ФАБ-5000 642 3107 4900 2207
ФАБ-5000-М54 - - 5247 2210,6 [3]
ФАБ-9000-М54 1200 5050 9407 4297 [3]

High-explosive fragmentation

OFAB cutaway
  Detonator
  Explosive
  Body

OFAB - a high-explosive fragmentation bomb is a regular high-explosive bomb, but with a lower explosive filling of about 30-35%, and special means of organized crushing of the body, such as a sawtooth inner side of the body or a system of longitudinal and transverse grooves (although on outdated models they might not have been installed).[1]

Primary targets:

  • Military-industrial facilities
  • Living force.
  • Combat vehicles
High-explosive fragmentation
Abbreviation Image Diameter (mm) Length (mm) Bomb mass (kg) Explosive mass (kg) Notes
ОФАБ-100-120 273 1300 133 42 [2]
ОФАБ-250Т 300 2050 239 92 [2] Heat resistant
ОФАБ-250ШЛ 325 1991 266 92 [2] Assault, surface explosion
ОФАБ-250-270 325 1456 266 97 [2]
ОФАБ-250ШН 325 1966 268 93 [2] Assault, Low-altitude
ОФАБ-500У 400 2300 515 159 [2] Universal
ОФАБ-500ШР 450 2500 509 125 [2] Assault, with multiple warheads

Concrete-piercing and anti-submarine

BetAB - a concrete-piercing aerial bomb. Designed for effective destruction of reinforced concrete shelters and runways. Structurally, they are divided into two types:

  • Free fall - designed for bombing from high altitudes. Structurally close to thick-walled high-explosive bombs.
  • With a parachute and a jet accelerator - designed for bombing from any (including low) altitudes. Due to the parachute, the bomb tilts to 60°, the parachute is unfastened and the rocket accelerator is turned on.[1]

PLAB - anti-submarine bomb. Designed to destroy submarines. May have different designs. Large-caliber bombs usually have a non-contact (hydroacoustic, barometric, remote, or more often combined) fuse, and hit the target with a high-explosive effect (hydrodynamic shock) at a distance. A low-power nuclear charge is well suited for them (as an example, the domestic PLAB 5F48 “Skalp”).

Small-caliber bombs are usually used as part of cassettes and have a contact fuse and a shaped charge bomb design.[1]

Concrete-piercing and anti-submarine
Abbreviation Image Diameter (mm) Length (mm) Bomb mass (kg) Explosive mass (kg) Notes
БетАБ-500 350 2200 477 76 [2]
БетАБ-500ШП 325 2500 380 77 [2] Assault, with jet accelerator
БетАБ-500У 450 2480 510 45 [5]
ПЛАБ-250-120 240 1500 123 61 [2]

Incendiary and volume-detonating

FZAB
  Detonator
  Explosive
  Explosive charge
  Cartridge with phosphorus
  Fire mixture
  Body

ZAB - incendiary aerial bomb. Designed to destroy manpower and military equipment with fire. The mass of incendiary bombs does not exceed 500 kg. Structurally, incendiary bombs are divided into 2 types:

  • With pyrotechnic incendiary composition - used in all bombs less than 100 kg, and in some with a caliber of more than 100. The pyrotechnic composition is usually thermite with a binder. The body usually consists of combustible metal "electron" (an alloy of aluminum and magnesium).
  • With a viscous fire mixture - used for bombs with a caliber of 100 to 500 kg. A fire mixture is organic flammable substances thickened to a viscous state with special substances (rubber, liquid glass, polystyrene). The fire mixture in a thickened state is dispersed during an explosion into large pieces, which burn for several minutes at a temperature of about 1000 °C. The design of the bomb also includes a cartridge with phosphorus and a small explosive charge; after detonation, the phosphorus spontaneously ignites in air and ignites the fire mixture.
  • FZAB - high-explosive incendiary bomb. They are a combination of FAB and ZAB in one body. When a bomb is detonated, the incendiary part detonates first, and then the high-explosive part.
  • ZB - incendiary tank. They are ZAB in a thin-walled casing without a stabilizer and without an explosive charge. Scattering and crushing is carried out by means of a hydraulic shock that occurs when it hits an obstacle. They can only be used effectively from low altitudes.[1]
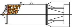
ODAB
  Fuse
  Dispersing charge
  Equipment
  Secondary (initiating) charge
  Body
  Container with parachute

ODAB - volume detonating bomb. Provides greater effect against manpower and vulnerable equipment (including in open shelters) than FAB. When encountering an obstacle, the dispersing charge is activated, the body is destroyed, the fuel splits and scatters. The fuel evaporates and, mixing with air, forms a cloud of air-fuel mixture. After the time required for the formation of a cloud of sufficient size, the secondary detonating explosive charge ignites the air-fuel mixture.[1]

Incendiary and volume-detonating
Abbreviation Image Diameter (mm) Length (mm) Bomb mass (kg) Explosive mass (kg) Notes
ЗАБ-100-105 273 1065 106,9 28,5 [2]
ЗАБ-250-200 325 1500 202 60 [2]
ЗБ-500ШМ 500 2500 317 260 [2]
ЗБ-500ГД 500 2500 270-340 (depending on the type of fire mixture) 218-290 [2]
ФЗАБ-500М 400 2500 500 86+49 (Explosive+fire mixture) [2]
ОФЗАБ-500 450 2500 500 250 [2]
ОДАБ-500ПМ 500 2280 520 193 [2]
АВБПМ - 7100 (44,000 kg TNT equivalent) [6]

Cluster

RBK of obturator type.
  Cylindrical metal shell (Стакан)
  Cluster elements
  Obturator disc
  Central tube
  Knockout charge

RBK - disposable bomb clusters. They are thin-walled aerial bombs, designed for the use of small-caliber aerial bombs (up to 20 kg). The name consists of an abbreviation and type of equipment. Some RBKs are equipped with a removable fairing, which allows the RBC to be effectively installed on aircraft with both an external sling and an internal weapons bay. Based on the method of dispersing combat elements, RBKs are divided into two types:

  • obturator type - have in their design a rigidly fixed obturator disk, which, after the remote fuse is triggered and the expelling charge is ignited by it under the action of powder gases, is separated from the glass and moves inside the bomb body along with the central pipe around which small aerial bombs are placed. The tail cone is separated, and the combat elements extend beyond the cassette.
  • Sectional view of RBK with central ignition-explosive charge (RBK-250 ZAB2.5M)
      Cylindrical metal shell (Стакан)
      Cluster elements
      Central tube with ignition-explosive charge inside
      Body
    with a central ignition-explosive charge - the bomb design has a central perforated pipe with a charge and a side weakened section covered by a strip. When the fuse is triggered, the charge is initiated. The resulting gases destroy the cross-section of the bomb body and scatter aerial bombs, thereby achieving a large area of scattering of aerial bombs.[1]

KMGU - Unified Container for Small-sized Load. Designed for transportation and release of BKF (container front-line units) with submunitions. During combat use, the KMGU itself is located on the aircraft’s weapons suspension unit and is not dropped (although in an emergency it can be forcibly dropped). Structurally, the KMGU is a streamlined body with controlled flaps, compartments for suspending the BKF and automation that allows you to adjust the block release interval.[3][7]

Cluster bomb submunitions

Relatively small caliber bombs are used as submunitions (bomblets) of cluster bombs. Due to the specifics of their use, in addition to the types of bombs described above, there are also specialized bombs, currently used mainly only in cluster bombs and KMGU.

OAB (АО, ShOAB) - an aerial fragmentation bomb (aviation fragmentation bomb, ball fragmentation aerial bomb). Air bombs whose main effect is fragments of the hull. The caliber of the bombs ranges from 0.5 to 50 kg. They are designed to destroy manpower, non- and lightly armored vehicles. Old aerial bombs have a cylindrical body with a rigid stabilizer that provides irregular crushing; modern bombs have a spherical or hemispherical design, a folding stabilizer, aerodynamic devices, notches for organized crushing of the body, or ready-made striking elements.

  • Bombs with ready-made fragments are made from two hemispheres reinforced with steel balls. Inside the case there is a bursting charge and a contact fuse.
  • Bombs with notches also have a delayed fuse. When meeting an obstacle, such a bomb is divided into two parts and, after the time required to rise several meters, is detonated.[1]

PTAB - an anti-tank aerial bomb. Designed to destroy armored objects. The destructive effect is a jet formed by a shaped charge inside the bomb body. Also, when detonated, the bomb body produces fragments that can hit manpower and unarmored vehicles. For the cumulative jet to be effective, the explosion must occur at a distance called the focal distance. Older bombs have a contact head or bottom fuse. Modern bombs have a built-in fuse with a target sensor.[1]

Cluster bombs
Abbreviation (Bomb and bomblet) Image Warhead type Diameter (mm) Length (mm) Bomb mass (kg) Number of elements Mass of one element (kg) Notes
РБК-500У ОФАБ-50УД high-explosive fragmentation 450 2500 520 10 50 [2] Universal
РБК-500 АО-2,5РТМ fragmentation 450 2500 504 108 2,5 [2]
РБК-500 ОАБ-2,5РТМ fragmentation 450 2500 500 126 2,5 [2]
РБК-500 БетАБ concrete-breaking 450 2500 525 12 - [2]
РБК-500У БетАБ-М concrete-breaking 450 2495 480 10 - [2] Universal
РБК-500 ПТАБ-1М anti-tank, shaped charge 450 1954 427 268 - [2]
РБК-500У ПТАБ anti-tank, shaped charge 450 2500 520 352 - [2] Universal
РБК-500У СПБЭ-Д self-aiming anti-tank 450 2485 500 15 - [2] Universal
РБК-250 ЗАБ-2,5М incendiary 325 1492 195 48 2,5 [2]
РБК-500 ЗАБ-2,5СМ incendiary 450 1954 480 297 2,5 [2]
РБК-100 ПЛАБ-10К anti-submarine 240 1585 125 6 10 [2]

References

  1. ^ a b c d e f g h i j Миропольский Ф. П., Кузнецов В. В., Саркисян Р. С., Галушко Б. И., Моисеев А. Г., Сапков В. В., Вишняков О. Л. (1995). Авиационные средства поражения / Под ред. Ф. П. Миропольского. Moscow: Voenizdat.{{cite book}}: CS1 maint: multiple names: authors list (link)
  2. ^ a b c d e f g h i j k l m n o p q r s t u v w x y z aa ab ac ad ae af ag ah ai aj Авиабомбы, разовые бомбовые кассеты, ручные гранаты и гранатомёты, миномётные выстрелы. Bazalt.
  3. ^ a b c d e f g Оружие и технологии России. Энциклопедия XXI век. Том 10 — «Авиационное вооружение и авионика»
  4. ^ "В Нижнем Новгороде наладили производство трехтонных авиабомб - Газета.Ru | Новости". Газета.Ru (in Russian). 2024-05-13. Retrieved 2024-05-13.
  5. ^ "БЕТАБ-500У". www.airwar.ru. Retrieved 2024-05-13.
  6. ^ Самая мощная в мире вакуумная бомба: российские испытания. Новости. Первый канал (in Russian). Retrieved 2024-05-13 – via www.1tv.ru.
  7. ^ "Уголок неба ¦ КМГУ". www.airwar.ru. Retrieved 2024-05-13.

Attribution: translated from the Russian ru:Авиационные бомбы (Россия) in May 2024